Massimo86
35. Платформа в виде диска диаметром D 3м и массой m1
35. Платформа в виде диска диаметром D= 3м и массой m1=180 кг может вращаться вокруг вертикальной ос..
30р.
35. По двум бесконечно длинным прямым параллельным пров
35. По двум бесконечно длинным прямым параллельным проводникам, расстояние между которыми d = 20 см,..
30р.
35. Полоний имеет простую кубическую решетку. Постоянна
35. Полоний имеет простую кубическую решетку. Постоянная решетки равна 0,334 нм. Вычислить плотность..
30р.
35. Прямоугольный потенциальный барьер имеет ширину l
35. Прямоугольный потенциальный барьер имеет ширину l = 0,15 нм. Определите в электронвольтах разнос..
30р.
35. Соленоид без сердечника с однослойной обмоткой из п
35. Соленоид без сердечника с однослойной обмоткой из проволоки диаметром d = 0,5 мм имеет длину l =..
30р.
35. Титр раствора H2SO4 равен 0,0049 г/см3. Рассчитайте
35. Титр раствора H2SO4 равен 0,0049 г/см3. Рассчитайте эквивалентную концентрацию раствора H2SO4...
30р.
35. Точка одновременно совершает два гармонических коле
35. Точка одновременно совершает два гармонических колебания, происходящих во взаимно перпендикулярн..
30р.
35. Труба длиной l 50 см заполнена воздухом и открыта
35. Труба длиной l = 50 см заполнена воздухом и открыта с одного конца. Принимая скорость υ звука ра..
20р.
35. Цепочка массы m 1кг и длины l 1,4 м висит на нит
35. Цепочка массы m = 1кг и длины l =1,4 м висит на нити, касаясь поверхности стола своим нижним кон..
30р.
36. Атомарный водород, возбуждённый светом определённой
36. Атомарный водород, возбуждённый светом определённой длины волны, при переходе в основное состоян..
30р.
36. В баллоне находится газ при температуре Т1 400 К.
36. В баллоне находится газ при температуре Т1 = 400 К. До какой температуры T2 надо нагреть газ, чт..
30р.
36. В два сосуда с голубым раствором медного купороса п
36. В два сосуда с голубым раствором медного купороса поместили в первый цинковую пластинку, а во вт..
20р.
36. В ионизационной камере находится азот, который иони
36. В ионизационной камере находится азот, который ионизируется рентгеновскими лучами. Расстояние ме..
20р.
36. В ряду радиоактивного превращения урана имеются сле
36. В ряду радиоактивного превращения урана имеются следующие стадии:23892U→23490Th→23491Pa→X..
30р.
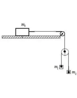
36. В системе, показанной на рисунке, массы тел равны m
36. В системе, показанной на рисунке, массы тел равны m0; m1 и m2, трения нет, массы блоков пренебре..
30р.





