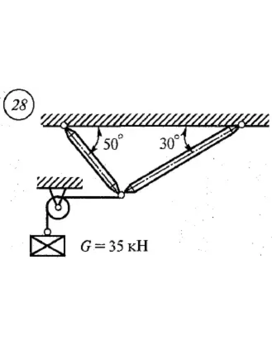
Решение задания для самостоятельной работы 1 вариант 28 из сборника по теХнической механике Сеткова В.И.:
Определить величину и направление реакций связей по данным одного из вариантов, показанных на рисунке:
(Решение выполнено в формате .JPG)
Определить величину и направление реакций связей по данным одного из вариантов, показанных на рисунке:
(Решение выполнено в формате .JPG)
Решение самостоятельной работы 1 вариант 28 Сетков В.И.
- Продавец: Михаил_Перович
- Модель: 2509881
- Наличие: Есть в наличии
-
111р.




