Михаил_Перович
Решение задачи 1.1.19 из сборника Кепе О.Э.
1.1.19Определитьв градусах угол между вектором равнодействующей R системы сил (H) F1=3i+2J и F2=5i+..
100р.
Решение задачи 1.1.2 из сборника Кепе О.Э.
1.1.2Опеределить угол в градусах между равнодействующей двух сил F1=10H и F2=8H и осью Ох, если угол..
60р.
Решение задачи 1.1.3 из сборника Кепе О.Э.
1.1.3Равнодействующая R двух равных по модулю сходящихся сил F1=F2=15H направлена по оси Оу и равна ..
66р.
Решение задачи 1.1.4 из сборника Кепе О.Э.
1.1.4Опеределить модуль равнодействующей сходящихся сил F1 = 10Н, F2 = 15Н и F3 = 20Н, еслиизвесны у..
100р.
Решение задачи 1.1.5 из сборника Кепе О.Э.
1.1.5Какую по модулю силу F3 надо приложить к сходящимся силам F1=2H и F2=4H, образующим с осью Ох у..
66р.
Решение задачи 1.1.6 из сборника Кепе О.Э.
1.1.6Равнодействующая R=10H двух сходящихся сил образует с оью Ох угол ? = 30о. Сила F1=5H образует ..
66р.
Решение задачи 1.1.7 из сборника Кепе О.Э.
1.1.7На твердое тело в точке А действуют силы F1=6H и F2=3H , линии действия которых находятся в пло..
60р.
Решение задачи 1.1.8 из сборника Кепе О.Э.
1.1.8На пресс в точке О действуют силы F1=5Н и F2=7Н, линии действия которых находятся в плоскости ч..
100р.
Решение задачи 1.1.9 из сборника Кепе О.Э.
1.1.9К столбу в точке А приложена плоская система сходящихся сил F1=F2=F3=10Н. Определить сумму прое..
100р.
Решение задачи 1.2.1 из сборника Кепе О.Э.
1.2.1Силы F1=F2=10H и F3 находятся в равновесии. Линии действия сил между собой образуют углы по 120..
100р.
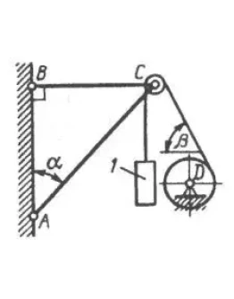
Решение задачи 1.2.10 из сборника Кепе О.Э.
1.2.10Груз 1 весом 10Н подвешен с помощью каната, перекинутого через блок С и намотанного на барабан..
60р.
Решение задачи 1.2.11 из сборника Кепе О.Э.
1.2.11Шар 1 весом 16Н и шар 2 связаны нитью, перекинутой через блок D и удерживаются в равновесии. О..
66р.
Решение задачи 1.2.12 из сборника Кепе О.Э.
1.2.12Пластина весом G = 8Н удерживается в равновесии двумя канатами АВ и CD, расположенными в верти..
60р.
Решение задачи 1.2.13 из сборника Кепе О.Э.
1.2.13Два стержня АС и ВС соединены шарнирно в точке C, к которой через блок D подвешен груз 1 весом..
60р.
Решение задачи 1.2.14 из сборника Кепе О.Э.
1.2.14Груз 1 весом 6Н удерживается в равновесии двумя стержнями АС и ВС равной длины, соединенными ш..
60р.














