Решение Д3-02 (Рисунок Д3.0 условие 2 С.М. Тарг 1988 г)
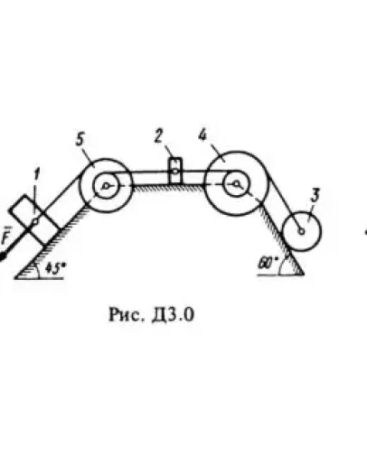
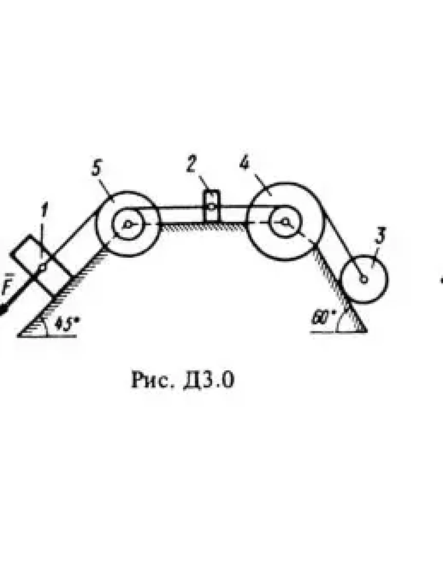
Механическая система состоит из грузов 1 и 2 (коэффициент трения грузов о плоскость F = 0,1), цилиндрического сплошного однородного катка 3 и ступенчатых шкивов 4 и 5 с радиусами ступеней R4 = 0,3 м, r4 = 0,1 м, R5 = 0,2 м, r5 = 0,1 м (массу каждого шкива считать равномерно распределенной по его внешнему ободу) (рис. Д3.0-Д3.9, табл. Д3). Тела системы соединены друг с другом нитями, намотанными на шкивы; участки нитей параллельны соответствующим плоскостям. Под действием силы F = f(x), зависящей от перемещения точки приложения силы, система приходит в движение из состояния покоя. При движении системы на шкивы 4 и 5 действуют постоянные моменты сил сопротивлений, равные соответственно M4 и M5. Определить значение искомой величины в тот момент времени, когда перемещение точки приложения силы F равно s1.
Механическая система состоит из грузов 1 и 2 (коэффициент трения грузов о плоскость F = 0,1), цилиндрического сплошного однородного катка 3 и ступенчатых шкивов 4 и 5 с радиусами ступеней R4 = 0,3 м, r4 = 0,1 м, R5 = 0,2 м, r5 = 0,1 м (массу каждого шкива считать равномерно распределенной по его внешнему ободу) (рис. Д3.0-Д3.9, табл. Д3). Тела системы соединены друг с другом нитями, намотанными на шкивы; участки нитей параллельны соответствующим плоскостям. Под действием силы F = f(x), зависящей от перемещения точки приложения силы, система приходит в движение из состояния покоя. При движении системы на шкивы 4 и 5 действуют постоянные моменты сил сопротивлений, равные соответственно M4 и M5. Определить значение искомой величины в тот момент времени, когда перемещение точки приложения силы F равно s1.
Решение Д3-02 (Рисунок Д3.0 условие 2 С.М. Тарг 1988 г)
- Продавец: Михаил_Перович
- Модель: 2124804
- Наличие: Есть в наличии
-
50р.





