Решение Д5-95 (Рисунок Д5.9 условие 5 С.М. Тарг 1988 г)
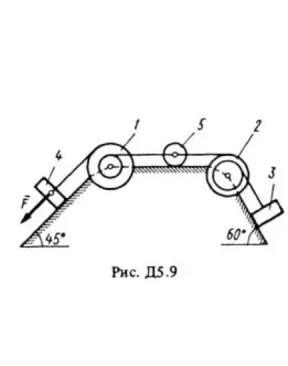
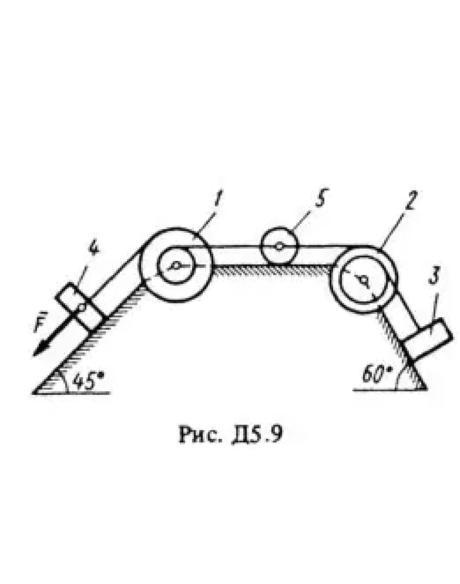
Механическая система состоит из ступенчатых шкивов 1 и2 весом P1 и P2 с радиусами ступеней R1 = R, r1 = 0,4R; R2 = R, r3 = 0,8R (массу каждого шкива считать равномерно распределенной по его внешнему ободу); грузов 3, 4 и сплошного однородного цилиндрического катка 5 весом P3, P4, P5 соответственно (рис. Д5.0-Д5.9 табл. Д5). Тела системы соединены нитями, намотанными на шкивы; участки нитей параллельны соответствующим плоскостям. Грузы Скользят по плоскостям без трения, а катки катяться без скольжения. Кроме сил тяжести на одно из тел системы действует постоянная сила F, а на шкивы 1 и 2 при их вращении действуют постоянные моменты сил сопротивления, равные соответственно M1 и M2. Составить для данной системы уравнение Лагранжа и определить из него величину, указанную в таблице в столбце «Найти», где обозначено: ε1, ε2 – угловые ускорения шкивов 1 и 2; а3, а4, аС5 – ускорения грузов 3, 4 и центра масс катка 5 соответственно. Когда в задаче надо определить ε1, ε2, считать R = 0,25 м. Тот из грузов 3, 4 вес которого равен нулю, на чертеже не изображать. Шкивы 1 и 2 всегда входят в систему.
Механическая система состоит из ступенчатых шкивов 1 и2 весом P1 и P2 с радиусами ступеней R1 = R, r1 = 0,4R; R2 = R, r3 = 0,8R (массу каждого шкива считать равномерно распределенной по его внешнему ободу); грузов 3, 4 и сплошного однородного цилиндрического катка 5 весом P3, P4, P5 соответственно (рис. Д5.0-Д5.9 табл. Д5). Тела системы соединены нитями, намотанными на шкивы; участки нитей параллельны соответствующим плоскостям. Грузы Скользят по плоскостям без трения, а катки катяться без скольжения. Кроме сил тяжести на одно из тел системы действует постоянная сила F, а на шкивы 1 и 2 при их вращении действуют постоянные моменты сил сопротивления, равные соответственно M1 и M2. Составить для данной системы уравнение Лагранжа и определить из него величину, указанную в таблице в столбце «Найти», где обозначено: ε1, ε2 – угловые ускорения шкивов 1 и 2; а3, а4, аС5 – ускорения грузов 3, 4 и центра масс катка 5 соответственно. Когда в задаче надо определить ε1, ε2, считать R = 0,25 м. Тот из грузов 3, 4 вес которого равен нулю, на чертеже не изображать. Шкивы 1 и 2 всегда входят в систему.
Решение Д5-95 (Рисунок Д5.9 условие 5 С.М. Тарг 1988 г)
- Продавец: Михаил_Перович
- Модель: 2136368
- Наличие: Есть в наличии
-
50р.





