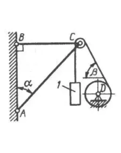
1.2.10
Груз 1 весом 10Н подвешен с помощью каната, перекинутого через блок С и намотан
ного на барабан лебедки D. Определить усилие в стержне АС, если углы ?= 45°, ?= 60°. (Ответ -26,4)
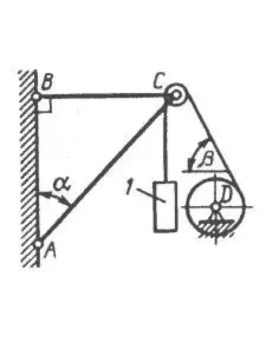
Груз 1 весом 10Н подвешен с помощью каната, перекинутого через блок С и намотан
ного на барабан лебедки D. Определить усилие в стержне АС, если углы ?= 45°, ?= 60°. (Ответ -26,4)
Решение задачи 1.2.10 из сборника Кепе О.Э.
- Продавец: Михаил_Перович
- Модель: 1801804
- Наличие: Есть в наличии
-
60р.




