14.6.9
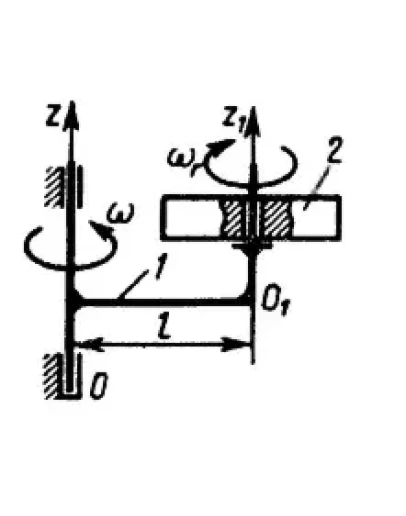
Внутренними силами системы маховик 2 массой 20 кг, центральный момент инерции
которого Izl = 1 кг • м2, раскручивается до относительной угловой скорости ?r = 40 рад/с.
Определить угловую скорость ? держателя 1, если его момент инерции Iz = 4 кг • м, размер l =
1 м. (Ответ 1,6)
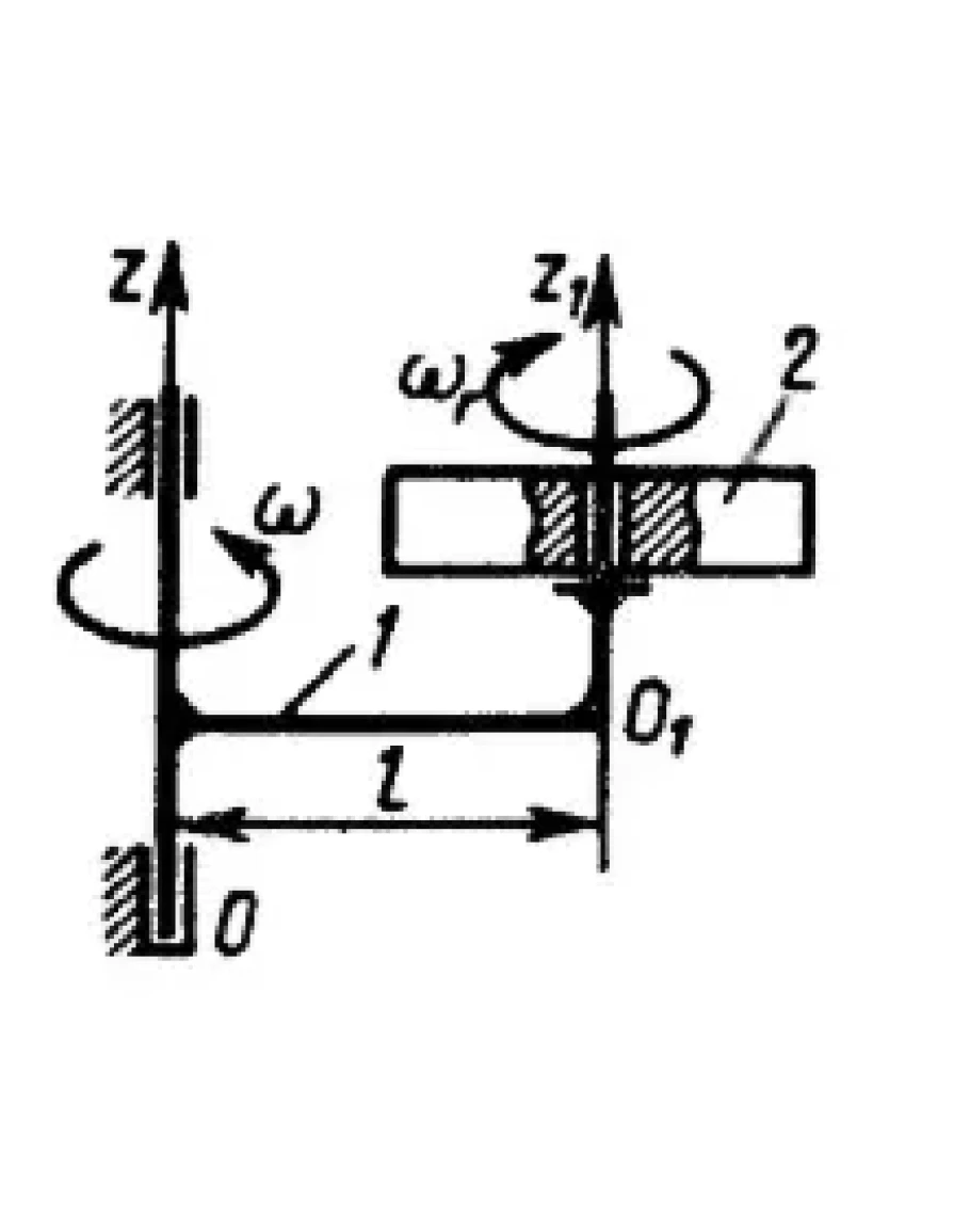
Внутренними силами системы маховик 2 массой 20 кг, центральный момент инерции
которого Izl = 1 кг • м2, раскручивается до относительной угловой скорости ?r = 40 рад/с.
Определить угловую скорость ? держателя 1, если его момент инерции Iz = 4 кг • м, размер l =
1 м. (Ответ 1,6)
Решение задачи 14.6.9 из сборника Кепе О.Э.
- Продавец: Михаил_Перович
- Модель: 1825456
- Наличие: Есть в наличии
-
100р.




