7.2.7
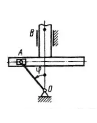
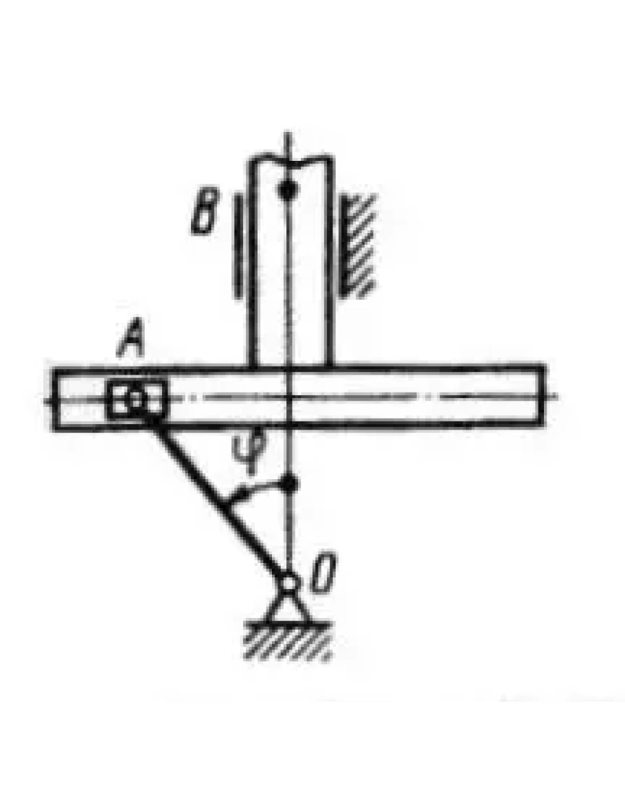
Определить скорость точки В в момент времени t = 6 с, если расстояние ОА =0,1 м, а угол ? = 6 t. (Ответ 0,595)
Определить скорость точки В в момент времени t = 6 с, если расстояние ОА =0,1 м, а угол ? = 6 t. (Ответ 0,595)
Решение задачи 7.2.7 из сборника Кепе О.Э.
- Продавец: Михаил_Перович
- Модель: 1900748
- Наличие: Есть в наличии
-
60р.




