Термех Диевский В.А. задание 1 задача Динамика 4 (Д4) на тему «ПРИНЦИП ЛАГРАНЖА»:
Д4 ЗАДАНИЕ 1: Выполнить задание СЗ, используя принцип возможных скоростей или принцип возможных перемещений Лагранжа.
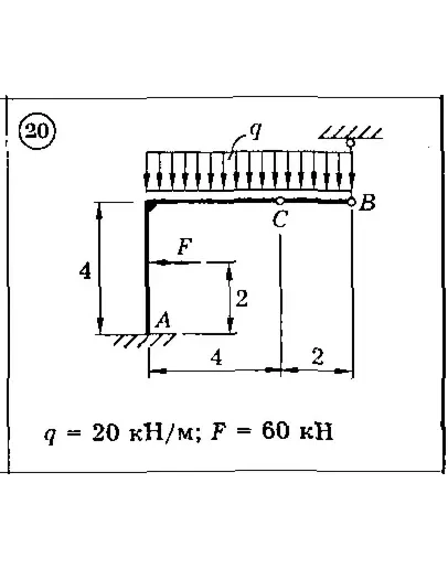
ЗАДАНИЕ С3 (стр. 23 в Диевском 2009 года): Для представленных на схемах 1-30 составных конструкций найти реакции опор. Размеры указаны в метрах. Весом элементов конструкций пренебречь.
Решение задания 1 задачи Д4 схема №20
Д4 ЗАДАНИЕ 1: Выполнить задание СЗ, используя принцип возможных скоростей или принцип возможных перемещений Лагранжа.
ЗАДАНИЕ С3 (стр. 23 в Диевском 2009 года): Для представленных на схемах 1-30 составных конструкций найти реакции опор. Размеры указаны в метрах. Весом элементов конструкций пренебречь.
Решение задания 1 задачи Д4 схема №20




