Термех Диевский В.А. задача Динамика 5 (Д5) на тему «Принцип Даламбера»:
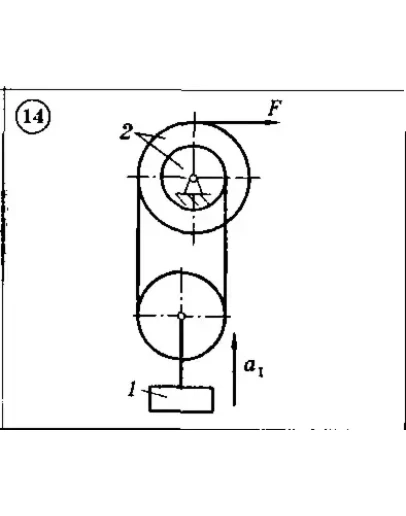
Для приведенных на схемах 1-30 механических систем, используя принцип Даламбера, определить величину силы F,необходимую для перемещения груза с заданным ускорением а1, а также усилие в грузовом тросе. Исходные данные: массы груза т1 и барабана т2, радиус барабана R2 (у двойного барабана имеется также r2), его радиус инерции р2 (если он не указан, тело считать однородным цилиндром), угол а и коэффициент трения скольжения f приведены в таблице. Непронумерованные блоки и катки считать невесомыми. Трением на осях барабана и блоков пренебречь.
Решение задачи Д5 номер строки условий и схема 14
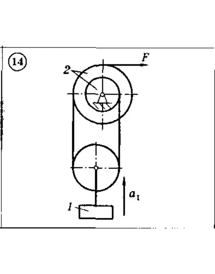
Для приведенных на схемах 1-30 механических систем, используя принцип Даламбера, определить величину силы F,необходимую для перемещения груза с заданным ускорением а1, а также усилие в грузовом тросе. Исходные данные: массы груза т1 и барабана т2, радиус барабана R2 (у двойного барабана имеется также r2), его радиус инерции р2 (если он не указан, тело считать однородным цилиндром), угол а и коэффициент трения скольжения f приведены в таблице. Непронумерованные блоки и катки считать невесомыми. Трением на осях барабана и блоков пренебречь.
Решение задачи Д5 номер строки условий и схема 14





