Готовое решение задачи Д8 Вариант 10 из решебника по теоретической механике С.М. Тарг 1983 года - (разг. термех Тарг).
УСЛОВИЕ ЗАДАЧИ Д8 (Стр. 56-59 в методичке Тарг С.М. 1983г.):
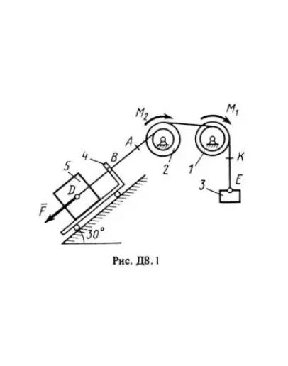
Механическая система состоит из тел 1, 2, ..., 5, имеющих веса Р1, Р2, ..., P5, связаных нитями, намотанными на ступенчатые блоки 1 и 2 (рис. Д8.0-Д8.9, табл. Д8). Прочерк в столбцах таблицы, где заданы веса, означает, что соответствующее тело в систему не входит (на чертеже не изображать), а ноль в столбцах таблицы означает, что тело считается невесомым, но в систему входит (на чертеже должно быть изображено). Для колес, обозначенных номером 4, Р4 - их общий вес (вес платформы такой тележки не учитывается).
Радиусы ступенчатых блоков 1 и 2 равны соответственно: R1=R, r1 = 0,8R; R2 = R, r2 = 0,4 R. При вычислении моментов инерции оба блока, колеса и катки считать однородными цилиндрами радиуса R.
На систему кроме сил тяжести действуют сила F. приложенная к телу 4 или 5 (если тело 5 в систему не входит, сила приложена в точке В к тележке), и пары сил с моментами М1 и М2, приложенные к блокам (при М < 0 направление момента противоположно показанному на рисунке).
На участке нити, указанном в таблице в столбце "Пружина", включена пружина с коэффициентом жесткости с (например, если в столбце стоит АВ, то участок АВ является пружиной, если AD то AD пружина, и т.д.); в начальный момент времени пружина не деформирована.
Составить для системы уравнения Лагранжа и определить из них частоту и период колебаний, совершаемых телами системы при ее движении.
УСЛОВИЕ ЗАДАЧИ Д8 (Стр. 56-59 в методичке Тарг С.М. 1983г.):
Механическая система состоит из тел 1, 2, ..., 5, имеющих веса Р1, Р2, ..., P5, связаных нитями, намотанными на ступенчатые блоки 1 и 2 (рис. Д8.0-Д8.9, табл. Д8). Прочерк в столбцах таблицы, где заданы веса, означает, что соответствующее тело в систему не входит (на чертеже не изображать), а ноль в столбцах таблицы означает, что тело считается невесомым, но в систему входит (на чертеже должно быть изображено). Для колес, обозначенных номером 4, Р4 - их общий вес (вес платформы такой тележки не учитывается).
Радиусы ступенчатых блоков 1 и 2 равны соответственно: R1=R, r1 = 0,8R; R2 = R, r2 = 0,4 R. При вычислении моментов инерции оба блока, колеса и катки считать однородными цилиндрами радиуса R.
На систему кроме сил тяжести действуют сила F. приложенная к телу 4 или 5 (если тело 5 в систему не входит, сила приложена в точке В к тележке), и пары сил с моментами М1 и М2, приложенные к блокам (при М < 0 направление момента противоположно показанному на рисунке).
На участке нити, указанном в таблице в столбце "Пружина", включена пружина с коэффициентом жесткости с (например, если в столбце стоит АВ, то участок АВ является пружиной, если AD то AD пружина, и т.д.); в начальный момент времени пружина не деформирована.
Составить для системы уравнения Лагранжа и определить из них частоту и период колебаний, совершаемых телами системы при ее движении.





