Термех Диевский В.А. задача Кинематика 2 (К2) на тему «Простейшие виды движения твердого тела»:
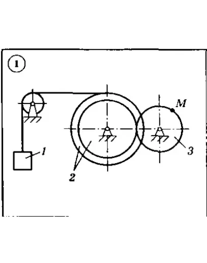
Для приведенных ниже схем механизмов 1-30 по известным характеристикам движения груза 1 — скорости V1x и ускорению а1х, или по заданному уравнению движения тела 1 — x(t), или по заданному уравнению движения вала 3 — Ф3(t) определить и показать на рисунке скорость и ускорение точки М, а также скорость и ускорение груза 1 в данный момент времени. Исходные данные, включая радиусы шестерен, шкивов и барабанов, приведены в таблице.
Решение задачи К2 рисунок 1
Для приведенных ниже схем механизмов 1-30 по известным характеристикам движения груза 1 — скорости V1x и ускорению а1х, или по заданному уравнению движения тела 1 — x(t), или по заданному уравнению движения вала 3 — Ф3(t) определить и показать на рисунке скорость и ускорение точки М, а также скорость и ускорение груза 1 в данный момент времени. Исходные данные, включая радиусы шестерен, шкивов и барабанов, приведены в таблице.
Решение задачи К2 рисунок 1




