К2-10
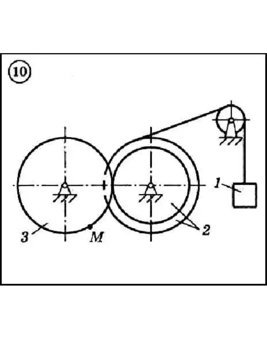
Для приведенной ниже схемы механизма по известным характеристикам груза 1 - скорости v1x и ускорению a1x определить и показать на рисунке скорость и ускорение точки М, а также скорость и ускорение груза 1 в данный момент времени. Исходные данные, включая радиусы шестерен, шкивов и барабанов, приведены в таблице.
Для приведенной ниже схемы механизма по известным характеристикам груза 1 - скорости v1x и ускорению a1x определить и показать на рисунке скорость и ускорение точки М, а также скорость и ускорение груза 1 в данный момент времени. Исходные данные, включая радиусы шестерен, шкивов и барабанов, приведены в таблице.
Решение задачи К2 вариант 10 (К2-10) - Диевский В.А.
- Продавец: Михаил_Перович
- Модель: 2203213
- Наличие: Есть в наличии
-
60р.




