Термех Диевский В.А. задача Статика 5 (С5) на тему «Пространственная система сил»:
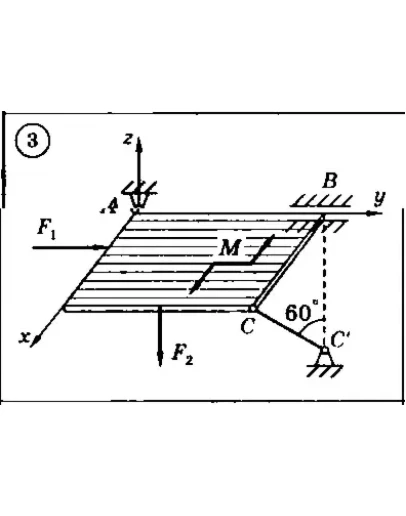
Для представленных на схемах 1-30 тел определить реакции опор. Тело представляет собой однородную прямоугольную плиту весом G = 12 кН, имеющую размеры |АВ| = 6 м и |ВС| = 2 м. Плита закреплена с помощью трех опор: шарнирно-неподвижной опоры (сферический шарнир) в точке А, подшибниковой опоры в точке В и опорного стержня в точке С. На плиту действует: пара сил с моментом М = 10 кН*м, и в серединах соответствующих сторон - горизонтальная сила F1 = 6 кН и вертикальная сила F2 = 8 кН.
Решение задачи С5 схема 3
Для представленных на схемах 1-30 тел определить реакции опор. Тело представляет собой однородную прямоугольную плиту весом G = 12 кН, имеющую размеры |АВ| = 6 м и |ВС| = 2 м. Плита закреплена с помощью трех опор: шарнирно-неподвижной опоры (сферический шарнир) в точке А, подшибниковой опоры в точке В и опорного стержня в точке С. На плиту действует: пара сил с моментом М = 10 кН*м, и в серединах соответствующих сторон - горизонтальная сила F1 = 6 кН и вертикальная сила F2 = 8 кН.
Решение задачи С5 схема 3




