C5-06 Диевский
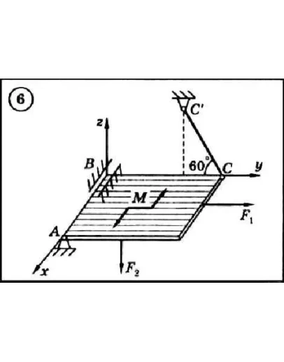
Для представленного на схеме тела определить реакции опор. Тело предствляет собой однородную прямоугольную плиту весом G = 12 кН, имеющую размеры |AB| = 6м и |BC| = 2м. Плита закреплена с помощью трех опор: шарнирно-неподвижной опоры (сферический шарнир) в точке А, подшипниковой опоры в точке В и опорного стержня в точке С. На плиту действует: пара сил с моментом М = 10 кНм, и в серединах соответствующих сторон - горизонтальная сила F1 = 6 кН и вертикальная сила F2 = 8 кН.
Для представленного на схеме тела определить реакции опор. Тело предствляет собой однородную прямоугольную плиту весом G = 12 кН, имеющую размеры |AB| = 6м и |BC| = 2м. Плита закреплена с помощью трех опор: шарнирно-неподвижной опоры (сферический шарнир) в точке А, подшипниковой опоры в точке В и опорного стержня в точке С. На плиту действует: пара сил с моментом М = 10 кНм, и в серединах соответствующих сторон - горизонтальная сила F1 = 6 кН и вертикальная сила F2 = 8 кН.
Решение задачи С5 вариант 6 (С5-06) - Диевский В.А.
- Продавец: Михаил_Перович
- Модель: 1989127
- Наличие: Есть в наличии
-
60р.




