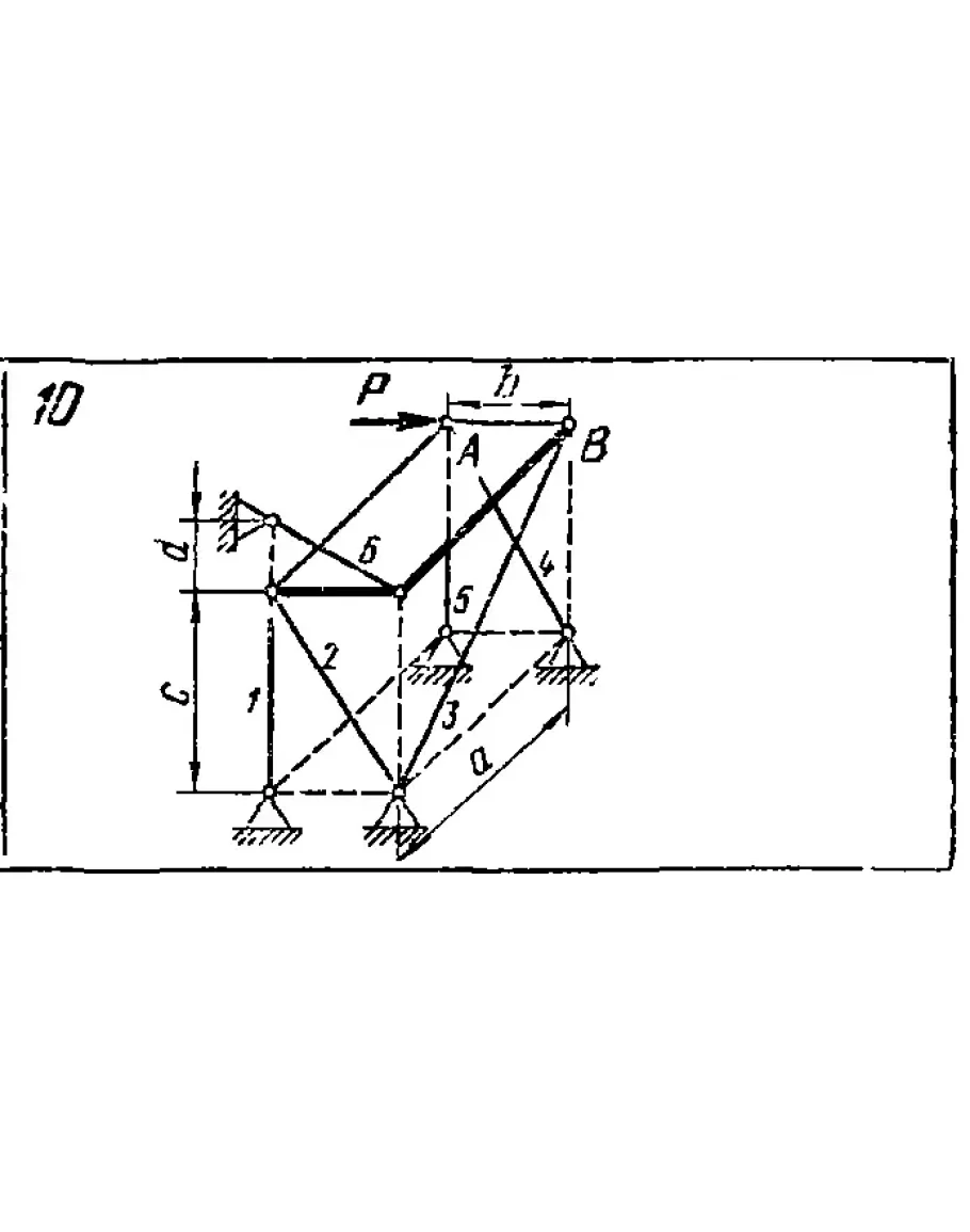
Решение задачи С11 вариант 10 из решебника к сборнику по теоретической механике Яблонский А.А. 1978 г., II. Система сил, не лежащих в одной плоскости. Система произвольно расположенных сил: на тему: С11 Определение реакций стержней, поддерживающих прямоугольною плиту (стр. 64).





