Steamurai
Перейти в каталог
Категории
Главная
Товары
Акции
Контакты
О нас
Продавец
TerMaster
C2 Варинат 27 термех из решебника Яблонский А.А. 1978 г
Описание
Отзывов (1)
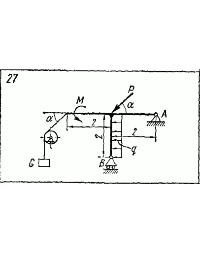
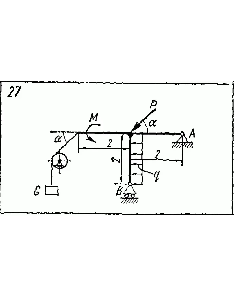
Решение задачи С2 вариант 27 из решебника по теоретической механике Яблонский А.А. 1978 г., на тему: С2 Определение реакции опор твердого тела (стр. 12 в сборнике).
Написать отзыв
Ваше имя:
Ваш отзыв:
Примечание:
HTML разметка не поддерживается! Используйте обычный текст.
Оценка:
Плохо
Хорошо
Продолжить
C2 Варинат 27 термех из решебника Яблонский А.А. 1978 г
Продавец:
TerMaster
Модель: 2082353
Наличие: Есть в наличии
100р.
Купить
1 отзывов
/
Написать отзыв
Рекомендуемые
🔵BATTLEFIELD 6 PS5 ВЫБОР РЕГИОНА БЫСТРО!🎁
5699р.
Купить
✅MORTAL KOMBAT 1 KHAOS REIGNS EXPANSION❤️XBOX🔑КЛЮЧ✅
1344р.
Купить
✅ Marvel's Spider-Man 2 - STEAM КЛЮЧ 🔑 СНГ (Без РФ)
3360р.
Купить
・Hogwarts Legacy + 450 игр + ПОДАРОК・ПК・НА ВАШ АККАУНТ・
99р.
Купить