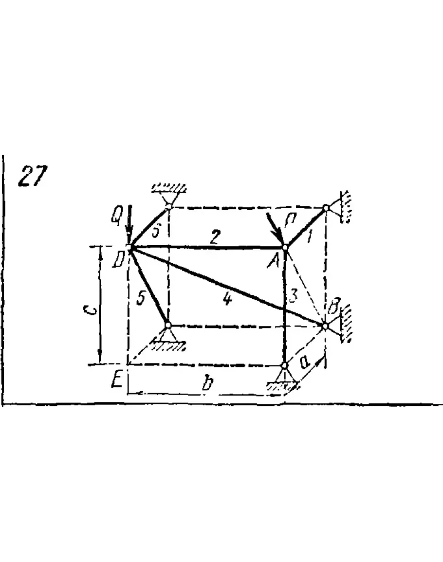
Решение задачи С8 вариант 27 из решебника к сборнику по теоретической механике Яблонский А.А. 1978 г., II. Система сил, не лежащих в одной плоскости. Система сходящихся сил: на тему: С8 Определение усилий в стержнях пространственной конструкции (стр. 48).





