Решение задачи Д7 Вариант 91 из решебника по теоретической механике Тарг С.М. 1983 года - термех.
УСЛОВИЕ ЗАДАЧИ Д7 (Стр. 53-55 в методичке Тарг С.М. 1983г.):
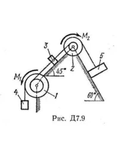
Механическая система состоит из шкивов 1 и 2, обмотанных нитями, и грузов 3—5, прикрепленных к этим нитям (рис. Д7.0 — Д7.9, табл. Д7). Система движется в вертикальной плоскости под действием сил тяжести и двух пар сил с моментом М1, приложенной к шкиву 1, и пары с моментом М2, приложенной к шкиву 2. Радиусы ступеней шкива 1 равны: R1 = 0,3 м, r1 — 0,15 м, а шкива 2 — R2 = 0,2 м, r2 = 0,1 м; их радиусы инерции относительно осей вращения равны соответственно ρ1 = 0,2 м и ρ2 = 0,1 м.
Пренебрегая трением, определить ускорение груза, имеющего больший вес; веса Р1, …, Р6 шкивов и грузов заданы в таблице в ньютонах, а моменты - в ньютонметрах. Тот из грузов 3,4,5, вес которого равен нулю, на чертеже не изображать; шкивы 1, 2 всегда входят в систему.
УСЛОВИЕ ЗАДАЧИ Д7 (Стр. 53-55 в методичке Тарг С.М. 1983г.):
Механическая система состоит из шкивов 1 и 2, обмотанных нитями, и грузов 3—5, прикрепленных к этим нитям (рис. Д7.0 — Д7.9, табл. Д7). Система движется в вертикальной плоскости под действием сил тяжести и двух пар сил с моментом М1, приложенной к шкиву 1, и пары с моментом М2, приложенной к шкиву 2. Радиусы ступеней шкива 1 равны: R1 = 0,3 м, r1 — 0,15 м, а шкива 2 — R2 = 0,2 м, r2 = 0,1 м; их радиусы инерции относительно осей вращения равны соответственно ρ1 = 0,2 м и ρ2 = 0,1 м.
Пренебрегая трением, определить ускорение груза, имеющего больший вес; веса Р1, …, Р6 шкивов и грузов заданы в таблице в ньютонах, а моменты - в ньютонметрах. Тот из грузов 3,4,5, вес которого равен нулю, на чертеже не изображать; шкивы 1, 2 всегда входят в систему.





