• Диевский ВА Задача С1 Вариант 1, Система сходящихся сил
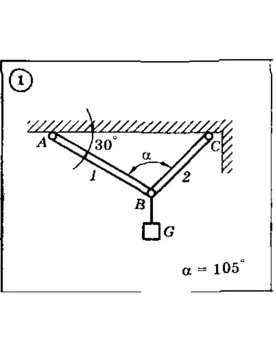
Задание С1 по теме система сходящихся сил: Для представленных на схемах 1-30 механических систем найти усилия в опорных стержнях 1 и 2. Вес груза G = 10 кН, стержни, блоки и тросы невесомы. Решение задачи для варианта: 1

Написать отзыв

Примечание: HTML разметка не поддерживается! Используйте обычный текст.
   Плохо           Хорошо

Диевский ВА Задача С1 Вариант 1, Система сходящихся сил

  • Продавец: TerMaster
  • Модель: 1983808
  • Наличие: Есть в наличии
  • 100р.

Рекомендуемые