Решение задачи С5 Вариант 89 из решебника по теоретической механике к задачнику Тарг С.М. 1982 года.
Тема задачи С5 - равновесие тела под действием произвольно пространственной системы сил.
Проверьте условие к задаче С5 (Стр. 28-31, методичка Тарг С.М. 1982 г):
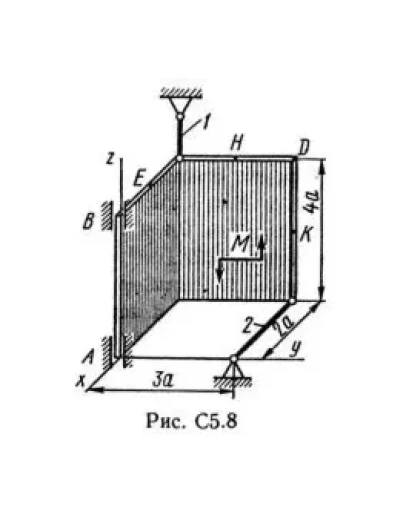
Две однородные прямоугольные тонкие плиты жестко соединены (сварены) под прямым углом друг к другу и закреплены сферическим шарниром (или подпятником) в точке А, цилиндрическим шарниром (подшипником) в точке В и невесомым стержнем 1 (рис. С5.0 — С5.7) или же двумя подшипниками в точках A и В и двумя невесомыми стержнями 1 и 2 (рис. С5.8, С5.9); все стержни прикреплены к плитам и к неподвижным опорам шарнирами.
Размеры плит указаны на рисунках; вес большей плиты P1 = 5 кН, вес меньшей плиты P2 = 3 кН. Каждая из плит расположена параллельно одной из координатных плоскостей (плоскость ху — горизонтальная).
На плиты действуют пара сил с моментом М = 4 кН·м, лежащая в плоскости одной из плит, и две силы. Значения этих сил, их направления и точки приложения указаны в табл. С5; при этом силы F1 и F4 лежат в плоскостях, параллельных плоскости ху, сила F2 — в плоскости, параллельной xz, и сила F3 — в плоскости, параллельной yz. Точки приложения сил (D, Е, Н, К) находятся в углах или в серединах сторон плит.
Определить реакции связей в точках А и В и реакцию стержня (стержней). При подсчетах принять а = 0,6 м.
Тема задачи С5 - равновесие тела под действием произвольно пространственной системы сил.
Проверьте условие к задаче С5 (Стр. 28-31, методичка Тарг С.М. 1982 г):
Две однородные прямоугольные тонкие плиты жестко соединены (сварены) под прямым углом друг к другу и закреплены сферическим шарниром (или подпятником) в точке А, цилиндрическим шарниром (подшипником) в точке В и невесомым стержнем 1 (рис. С5.0 — С5.7) или же двумя подшипниками в точках A и В и двумя невесомыми стержнями 1 и 2 (рис. С5.8, С5.9); все стержни прикреплены к плитам и к неподвижным опорам шарнирами.
Размеры плит указаны на рисунках; вес большей плиты P1 = 5 кН, вес меньшей плиты P2 = 3 кН. Каждая из плит расположена параллельно одной из координатных плоскостей (плоскость ху — горизонтальная).
На плиты действуют пара сил с моментом М = 4 кН·м, лежащая в плоскости одной из плит, и две силы. Значения этих сил, их направления и точки приложения указаны в табл. С5; при этом силы F1 и F4 лежат в плоскостях, параллельных плоскости ху, сила F2 — в плоскости, параллельной xz, и сила F3 — в плоскости, параллельной yz. Точки приложения сил (D, Е, Н, К) находятся в углах или в серединах сторон плит.
Определить реакции связей в точках А и В и реакцию стержня (стержней). При подсчетах принять а = 0,6 м.





