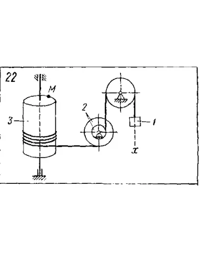
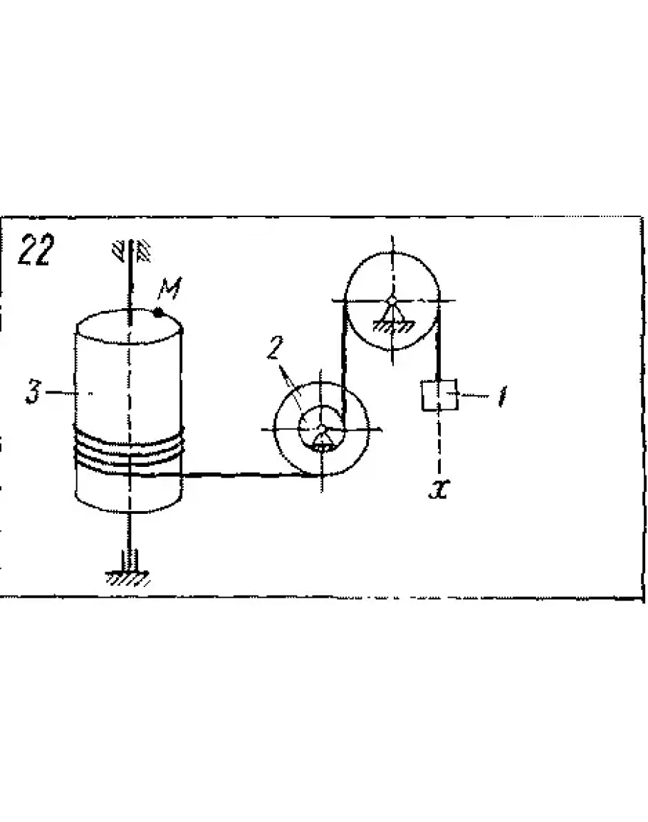
Решение задачи К3 Вариант 22 из решебника по теоретической механике Яблонский А.А. 1978 г., на тему: К3 Определение скоростей и ускорении точек твердого тела при поступательном и вращательном движениях (стр. 88).

Написать отзыв

Примечание: HTML разметка не поддерживается! Используйте обычный текст.
   Плохо           Хорошо

Задача К3 Вар. 22 термех из решебника Яблонский АА 1978

  • Продавец: TerMaster
  • Модель: 2245899
  • Наличие: Есть в наличии
  • 100р.

Рекомендуемые