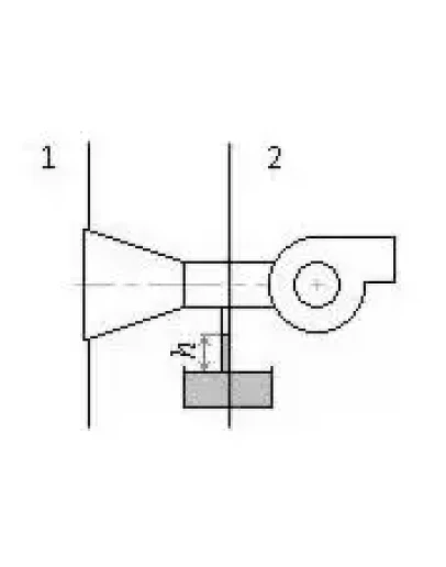
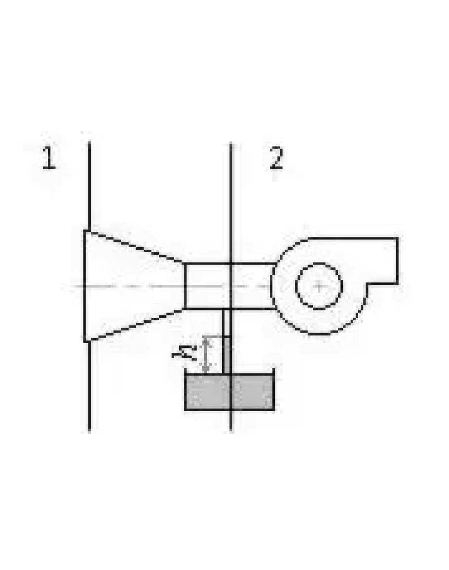
Центробежный вентилятор засасывает атмосферный воздух через сопло. К цилиндрической части сопла, диаметр которой D=190 мм, присоединена стеклянная трубка, нижним концом опущенная в сосуд с водой. При работе вентилятора вода в трубке поднимается на высоту h=270 мм. Определить производительность вентилятора, если объемный вес воздуха y.




