Михаил_Перович
Решение задачи 7.2.7 из сборника Кепе О.Э.
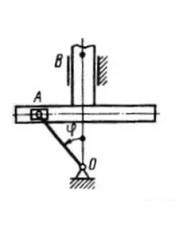
7.2.7Определить скорость точки В в момент времени t = 6 с, если расстояние ОА =0,1 м, а угол ? = 6 t..
60р.
Решение задачи 7.2.9 из сборника Кепе О.Э.
7.2.9Проекция скорости точки vx = 2 cos ?t. Определить координату х точки в момент времени t = 1 с, ..
60р.
Решение задачи 7.3.1 из сборника Кепе О.Э.
7.3.1Скорость автомобиля равномерно увеличивается в течение 12 с от нуля до 60 км/ч. Определить уско..
100р.
Решение задачи 7.3.10 из сборника Кепе О.Э.
7.3.10Точка начинает движение из состояния покоя и движется по прямой с постоянным ускорением а = 0,..
60р.
Решение задачи 7.3.2 из сборника Кепе О.Э.
7.3.2Дан график скорости v=f(t) прямолинейного движения точки. Определить ускорение точки в момент в..
60р.
Решение задачи 7.3.3 из сборника Кепе О.Э.
7.3.3Точка движется по прямой. Дан график ускорения а = f(t). Определить скорость точки в момент вре..
60р.
Решение задачи 7.3.4 из сборника Кепе О.Э.
7.3.4Точка движется по прямой. Дан график ускорения а=f(t). Определить путь, пройденный за промежуто..
100р.
Решение задачи 7.3.5 из сборника Кепе О.Э.
7.3.5Точка движется по прямой с ускорением а = 0,5 м/с2. Определить, за какое время будет пройдено р..
66р.
Решение задачи 7.3.6 из сборника Кепе О.Э.
7.3.6Точка движется по прямой с постоянным ускорением а = 0,3 м/с2. Определить начальную скорость, е..
100р.
Решение задачи 7.3.7 из сборника Кепе О.Э.
7.3.7Сколько секунд должен работать двигатель, который сообщает ракете ускорение 3g, чтобы скорость ..
100р.
Решение задачи 7.3.8 из сборника Кепе О.Э.
7.3.8Самолет при посадке касается посадочной полосы с горизонтальной скоростью 180 км/ч. После пробе..
100р.
Решение задачи 7.3.9 из сборника Кепе О.Э.
7.3.9Скорость автомобиля 90 км/ч. Определить путь торможения до остановки, если среднее замедление а..
100р.
Решение задачи 7.4.1 из сборника Кепе О.Э.
7.4.1Ускорение точки а = 0,5 ti + 0,2t2j. Определить модуль ускорения в момент времени t = 2 с. (Отв..
60р.
Решение задачи 7.4.11 из сборника Кепе О.Э.
7.4.11Даны уравнения движения точки: х = 0,3 t3 , у = 2t2 , где х и у - в см. Определить, в какой мо..
66р.
Решение задачи 7.4.12 из сборника Кепе О.Э.
7.4.12Положение точки на плоскости определяется ее радиусом-вектором r=0,3t2i+0,1t3j. Определить мод..
60р.








