Михаил_Перович
Решение задачи 7.4.13 из сборника Кепе О.Э.
7.4.13Даны уравнения движения точки х = cos ?t, у = sin ?t. Определить модуль ускорения в момент вре..
60р.
Решение задачи 7.4.14 из сборника Кепе О.Э.
7.4.14Дано ускорение точки а = 2ti + t2j. Определить угол в градусах между вектором а и осью Ох в мо..
60р.
Решение задачи 7.4.15 из сборника Кепе О.Э.
7.4.15Дано уравнение траектории точки х = 0,1 у2. Закон движения точки в направлении оси Оу выражает..
100р.
Решение задачи 7.4.16 из сборника Кепе О.Э.
7.4.16Даны уравнения движения точки: х = 0,01 t3, у = 200 - 10t Определить ускорение в момент времен..
60р.
Решение задачи 7.4.17 из сборника Кепе О.Э.
7.4.17Даны уравнения движения точки: х = 8 - t2, у = t2 - cos t. Определить проекцию ускорения ау в ..
100р.
Решение задачи 7.4.18 из сборника Кепе О.Э.
7.4.18Ускорение прямолинейного движения точки а = t. Определить скорость точки в момент времени t = ..
60р.
Решение задачи 7.4.19 из сборника Кепе О.Э.
7.4.19Точка движется прямолинейно с ускорением а = 0,2 t. Определить момент времени t, когда скорост..
100р.
Решение задачи 7.4.2 из сборника Кепе О.Э.
7.4.2Дан график ускорения а = f(t) прямолинейно движущейся точки. Определить скорость точки в момент..
66р.
Решение задачи 7.4.20 из сборника Кепе О.Э.
7.4.20Точка движется по прямой Ох с ускорением ах = 0,7t. Определить координату х точки в момент вре..
60р.
Решение задачи 7.4.4 из сборника Кепе О.Э.
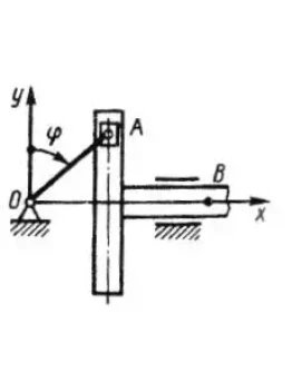
7.4.4Определить ускорение точки Н в момент времени, когда угол ?=60°, если длина ОА = АВ = 20 см, а ..
66р.
Решение задачи 7.4.5 из сборника Кепе О.Э.
7.4.5Определить ускорение точки В в момент времени t = 5 с, если длина кривошипа ОА = 15 см, а закон..
100р.
Решение задачи 7.4.6 из сборника Кепе О.Э.
7.4.6Скорость точки v = 0,9 ti + t2 j. Определить модуль ускорения точки в момент времени t=1,5 с. (..
60р.
Решение задачи 7.4.7 из сборника Кепе О.Э.
7.4.7Положение кривошипа ОА определяется углом ?=2t. Определить проекцию ускорения ах точки А в моме..
100р.
Решение задачи 7.4.8 из сборника Кепе О.Э.
7.4.8Даны проекции скорости на координатные оси vx = 3 t, vy = 2t2 , vz = t3. Определить модуль уско..
60р.
Решение задачи 7.4.9 из сборника Кепе О.Э.
7.4.9Движение точки задано уравнениями dx/dt = 0.3t2 и у = 0,2 t3 Определить ускорение в момент врем..
60р.








