Михаил_Перович
Решение задачи Д19-24 из сборника Яблонского А.А.
Задача Д19-24.tifДля заданной механической системы определить ускорения грузов и натяжения в ветвях ..
17р.
Решение задачи Д19-25 из сборника Яблонского А.А.
Задача Д19-25.tifДля заданной механической системы определить ускорения грузов и натяжения в ветвях ..
15р.
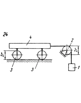
Решение задачи Д19-26 из сборника Яблонского А.А.
Задача Д19-26.tifДля заданной механической системы определить ускорения грузов и натяжения в ветвях ..
15р.
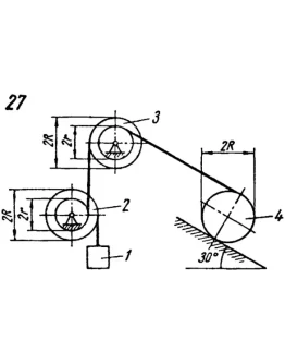
Решение задачи Д19-27 из сборника Яблонского А.А.
Задача Д19-27.tifДля заданной механической системы определить ускорения грузов и натяжения в ветвях ..
15р.
Решение задачи Д19-28 из сборника Яблонского А.А.
Задача Д19-28.tifДля заданной механической системы определить ускорения грузов и натяжения в ветвях ..
15р.
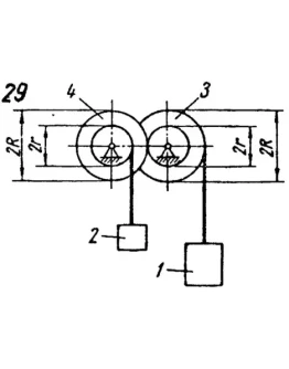
Решение задачи Д19-29 из сборника Яблонского А.А.
Задача Д19-29.tifДля заданной механической системы определить ускорения грузов и натяжения в ветвях ..
15р.
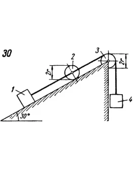
Решение задачи Д19-30 из сборника Яблонского А.А.
Задача Д19-30.tifДля заданной механической системы определить ускорения грузов и натяжения в ветвях ..
15р.
Решение задачи Д2 вариант 1 (Д2-01) - Диевский В.А.
Д2-01 ДиевскийВентилятор, вращавшийся с угловой скоростью ω0 = 3 рад/с, тормозится силами сопротивле..
60р.
Решение задачи Д2 вариант 10 (Д2-10) - Диевский В.А.
Д2-10 ДиевскийМаховик начинает вращаться из состояния покоя, причем вращающий момент зависит от угла..
60р.
Решение задачи Д2 вариант 12 (Д2-12) - Диевский В.А.
Д2-12 ДиевскийВал, вращавшийся с угловой скоростью ω0 = 9 рад/с, начинает тормозиться силами сопроти..
60р.
Решение задачи Д2 вариант 14 (Д2-14) - Диевский В.А.
Д2-14 ДиевскийМаховик, находившийся в покое, приводится во вращение постоянным моментом М1 = 2000 Н ..
60р.
Решение задачи Д2 вариант 15 (Д2-15) - Диевский В.А.
Д2-15 ДиевскийБарабан массой 200 кг и радиусом 80 см приводится во вращение из состояния покоя посто..
60р.
Решение задачи Д2 вариант 18 (Д2-18) - Диевский В.А.
Д2-18 Барабан массой 600 кг и радиусом 80 см приводится во вращение из состояния покоя постоянным м..
60р.
Решение задачи Д2 вариант 19 (Д2-19) - Диевский В.А.
Д2-19 ДиевскийВал, вращавшийся с угловой скоростью ω0 = 2,5 рад/с, начинает испытывать воздействие с..
60р.
Решение задачи Д2 вариант 2 (Д2-02) - Диевский В.А.
Д2-02Вращавшийся с угловой скоростью ω0 = 2,5 рад/с ротор электродвигателяначинает тормозиться силам..
60р.










